Дверні ручки "Скоба", призначені для встановлення на двері, виготовлені з алюмінієвих і пластикових профілів, а також на металеві і дерев'яні двері завтовшки від 36 до 76 мм.
Порядок складання і монтажу стаціонарних дверних ручок:
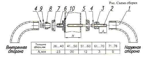
- Виконати в полотні дверей два наскрізних отвори 9 мм згідно міжосьовій відстані ручки. Допуск на міжосьова відстань отворів - ±1 мм;
- На шпильки 2 навернути гайки 4 і різьбові вставки 3. Виставити розмір «А» (див. табл.) і законтрить гайку ключем S13;
- Закрутить подсобранные шпильки в одну из ручек 1 так, чтобы гайки 4 выступали за торцы ручки на 1...3 мм;
- Надеть на шпильки втулки 5 (без отверстия под ключ) и вставить ручку в отверстия с наружной стороны двери;
- Установить прокладку 10, закрутить втулки 6 на шпильки с внутренней стороны двери и затянуть их до упора гаечным ключом S10. Допускается втулки законтрить саморезами;
- Примечание: шпильки 2 должны выступать от внутренней поверхности двери на 30... 48 мм. При необходимости откорректировать размер «А»
- Надеть на втулки 6 последовательно: втулки 7, резьбовые вставки 8, шайбы 9, навернуть гайки 4 и затянуть их до упора. При этом втулки 7 должны свободно вращаться;
- Приставить внутреннюю ручку и, поочередно поворачивая втулки 7 монтажным ключом, притянуть её к двери;
Возможные неисправности и методы их устранения:
- Крепление ручки ослабло. Подтянуть крепление с помощью втулок 7 или 6;
- Крепление затянуто, но ручка болтается. Проверить правильность монтажа. При необходимости разобрать крепление, проверить размеры и провести монтаж заново
- Комплектность дверных ручек "Скоба" и "Полукруг":
Поз. Наименование Кількість. 1 Ручка 2 2 Шпилька 2 3 Різьбова вставка 2 4 Гайка 4 5 Втулка 2 6 Втулка 2 7 Втулка 2 8 Різьбова вставка 2 9 Шайба 2 10 Прокладка 2 
Характеристики
| Основні | |
|---|---|
| Виробник | AKPEN |
| Країна виробник | Туреччина |
| Колір | Коричневий |
| Користувальницькі характеристики | |
| Вид | ручка |
| Комплектація | окремий виріб |
| Матеріал | метал |
| Призначення | для розпашних дверей |
| Особливості виду | універсальна |
| Особливості кольору | глянсовий |
| Розмір | 200 мм |
| Тип | стаціонарні |
| Тип установки | накладні |
Інформація для замовлення
- Ціна: 900 ₴




